Der er meget is i min indbyggede fryser
Problem
- Der er rim eller is på min frysers sider og kanter
- Der er et tykt lag is i min fryser
Gælder for
- Fryseskab integreret
Løsning
- Prøv først at afrime fryseren
Du kan finde detaljerede oplysninger i brugsanvisningen. Du kan downloade brugsanvisningen .
På frysere med frostfri teknologi, vil isen normalt automatisk tø, men det kan være nødvendigt at afrime manuelt hvis der er stor isopbygning på grund af f.eks. døren ikke har været lukket helt. Hvis fryseren ikke er en frostfri model, skal du selv afrime den efter behov.
- Undgå at åbne døren for tit eller at efterlade døren åben i længere perioder
- Indstil temperaturen til ca. -18 °C
- Kontroller temperaturen ved at anbringe et glas madolie så tæt på døren som muligt - og måle oliens temperatur med et termometer. Aflæs temperaturen efter ca. 12 timer.
- Opbevar altid fødevarer indpakket eller i lufttætte beholdere
- Sørg for at fryseren er tilstrækkeligt ventileret som vist i din monteringsvejledning. Du kan hente din
- Tjek at pakningen på kanten af døren er fastgjort korrekt
- Tjek at dørpakningerne fungerer korrekt ved sætte et ark papir i klemme i døren - og derefter trække det ud. Hvis du kan trække det ud uden modstand, lukker dørene ikke korrekt, og døren/skabet må justeres eller pakningerne bør udskiftes.
- Sørg for at dørpakningen er ren
Pakningen kan rengøres med en fugtig klud og en lille smule rengøringsmiddel. - Tjek om dørpakningen er deform
Hvis det er tilfældet, kan problemet som regel løses ved at varme den i et par sekunder med en hårtørrer og derefter forsøge at strække gummiet.
ADVARSEL! Opvarm ikke dørpakningen for meget, da det kan beskadige både pakning og døren. - Kontroller om skabet står plant.
Det er vigtigt, at skabet monteres i vater for at sikre, at skabsdøren kan lukke helt og korrekt.
Du kan kontrollere køkkenskabet med et vaterpas lodret og vandret.

- Hvis køkkenskabet ikke er lige, tages stikket ud af stikkontakten og fryseren flyttes. Kontroller nu om det er muligt at rette køkkenskabet op.
Du kan bede en køkkenforhandler om råd til, hvad der kan gøres for at løse problemet.
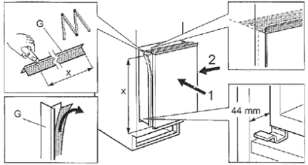
Når køkkenskabet er i vater, opstilles fryseren igen ved omhyggeligt,at følge monteringsanvisningerne, der fulgte med produktet. - Kontroller om skabet er monteret i den rigtige dybde og fastgjort korret.
Det er vigtigt, at skabet monteres nøjagtigt i den rigtige dybde for at sikre, at skabsdøren kan lukke helt og korrekt. For at opstille skabet korrekt skal du nøje følge de instruktioner der fulgte med skabet.
Du skal også sørge for, at produktet skrues fast i alle fastgørelses punkter og alle skruer montering i beslag, hængseldele og i fastmonteret hylde over produktet til forkant af køkkenskab.
Se her nogle eksempler på montering og dybde:
-Opstilling låge-på-dør: (Køkkenlåge monteret direkte på fryserdør)
-Opstilling i skab med glidehængsler (Køkkenlåge monteret i glideskinne på fryserdør)


- Kontroller om transportdelene er fjernet.
Døren kan ikke lukke korrekt hvis transportsikringerne ikke er fjernet på døren. Transportsikringerne kan du typisk finde i lågens hjørner.
Eksempel:

- Kontroller om dørhængslerne sidder løst eller om de på nogen måde er beskadiget.
Hvis hængslerne er løse kan du bruge en skruetrækker til at spænde skruerne og evt. samtidig justere hængslerne så døren lukker korrekt.
Hvis hængslet er knækket eller beskadiget anbefaler vi at, du booker besøg af en servicetekniker.
Hvis du selv vil udskifte dele kan du finde reservedele i
- Hvis ovenstående ikke løste problemet, anbefaler vi at du booker besøg af en vores specialuddannede serviceteknikere.
Du kan døgnet rundt nemt bestille et servicebesøg online, og selv vælge den ønskede dato for besøget.
Årsag
- Det er normalt, at der dannes rim og is i fryseren. Is dannes, når lågen åbnes og fugtig luft trænger ind i fryseren.
- Korrekt montering og brug af fryseren hjælper med at spare energi og beskytte miljøet.
- Uindpakkede fødevarer udleder en masse fugt og øger mængden af is i skabet.
Var denne artikel hjælpsom?
Relaterede artikler
- Isterninger bliver for store eller fryser sammen i klumper
- Låget på kummefryser er svær at åbne
- Lyset i min kummefryser virker ikke
- Der lugter dårligt i min kummefryser
- Der er meget is i min kummefryser
- Min fryser - fryser for meget
- Fryser viser en alarm eller bipper
- Fryser laver ikke isterninger
- Dispenser blinker 2 gange på fryser
- Fryser går pludselig i stå - slukker af sig selv